Модули предназначены для управления по сигналам из сети RS-485 встроенными дискретными ВЭ, используемыми для подключения исполнительных механизмов с дискретным управлением, и сбора данных с дискретных входов модуля с передачей их в сеть RS-485.
|
Коммуникационные возможности |
|
|
Интерфейс |
RS-485 |
|
Поддерживаемые протоколы |
Modbus RTU Modbus ASCII ОВЕН DCON |
|
Скорость обмена по RS-485 |
2400...115200 бит/с |
Особенности
- Встроенные входы могут работать в режиме счетчика импульсов частотой до 1 кГц
- Встроенные выходы могут работать в режиме генерации ШИМ-сигналов до 1 Гц
- Диагностика обрыва интерфейсной линии и перевод выходов в безопасное состояние, определенное пользователем
- Возможность контроля уровня жидкости кондуктометрическими датчиками (только для МК110-220.4К.4Р)
- Дополнительная логика работы дискретных входов и выходов (прямая / «НЕ» / «И» / «ИЛИ» / один импульс / ШИМ / триггер)
- Автоматическое определение протокола
- Съемные клеммники с невыпадающими винтами
- Обновление встроенного программного обеспечения по RS-485
- Поддержка облачного сервиса OwenCloud (при использовании сетевого шлюза ПМ210)
Конфигурирование
Конфигурирование модулей Мx110 осуществляется на ПК через адаптер интерфейса RS-485/RS-232 или RS-485/USB (например, ОВЕН АСЗ-М или АС4, соответственно) с помощью программы «Конфигуратор М110», входящей в комплект поставки.
Технические характеристики
|
Модификация |
МК110-220.4ДН.4Р |
МК110-224.8ДН.4Р |
МК110-224.8Д.4Р |
МК110-220.4К.4Р |
|||
|
|
![]() |
![]() |
![]() |
![]() |
|||
|
Входы/выходы |
|||||||
|
Количество входов/выходов |
4 DI / 4 DO |
8 DI / 4 DO |
4 DI / 4 DO |
||||
|
Тип |
входов |
|
|
кондуктометрические датчики |
|||
|
выходов |
реле электромагнитное |
||||||
|
Характеристики дискретных входов (DI) |
|||||||
|
Гальваническая развязка входов |
поканальная |
групповая (по 4 входа) |
поканальная |
||||
|
Электрическая прочность изоляции |
1500 В |
||||||
|
Макс. частота входного сигнала |
1 кГц |
– |
|||||
|
Мин. длительность входного сигнала |
0,5 мс (скважность 2 для частоты 1 кГц) |
– |
|||||
|
Напряжение питания входов |
24 ±3 В |
24 ±3 В для транзисторных ключей Для «сухих контактов» питание не требуется! |
от внутреннего источника не более 17 В переменного тока частотой от 1,5 до 2,5 Гц |
||||
|
Макс. входной ток |
не более 8,5 мА (при напряжении входа =27 В) |
не более 7 мА |
не более 1 мА |
||||
|
Суммарное сопротивление внешнего контакта и линии подключения |
– |
не более 100 Ом |
– |
||||
|
Ток «логической единицы» |
не менее 4,5 мА |
– |
|||||
|
Ток «логического нуля» |
не более 1,5 мА |
– |
|||||
|
Характеристики дискретных выходов (DO) |
|||||||
|
Максимальная нагрузочная способность дискретных выходов |
4 А (при переменном напряжении не более ~250 В 50 Гц и cos φ>0,4) 4 А (при постоянном напряжении не более =24 В) |
5 А (при переменном напряжении не более ~250 В 50 Гц и cos φ>0,4) 3 А (при постоянном напряжении не более =24 В) |
|||||
|
Питание |
|||||||
|
Тип питания |
~230 В |
универсальное ~230 В/=24 В |
~230 В |
||||
|
Напряжение питания |
переменное: ~90...264 В (номинальное ~230) частотой 47...63 Гц |
переменное: ~90...264 В (номинальное ~230 В) частотой 47...63 Гц или постоянное: =18...30 В (номинальное =24 В) |
переменное: ~90...264 В (номинальное ~230 В) частотой 47...63 Гц |
||||
|
Потребляемая мощность |
не более 12 ВА |
не более 6 ВА |
|||||
|
Напряжение встроенного источника питания |
=24 ±3 В |
– |
|||||
|
Ток встроенного источника питания |
не более 180 мА |
– |
|||||
|
Конструктивное исполнение |
|||||||
|
Габаритные размеры |
(63×110×75) ±1 мм |
||||||
|
Степень защиты |
IP20 |
||||||
|
Монтаж |
на DIN-рейку / на стену |
||||||
|
Условия эксплуатации |
|||||||
|
Температура окружающего воздуха |
-10...+55 °С |
||||||
|
Относительная влажность воздуха (при +25 °С и ниже без конденсации влаги) |
не более 80 % |
||||||
|
Комплектность |
|||||||
|
Модуль |
1 шт. |
||||||
|
Паспорт / Гарантийный талон |
1 экз. |
||||||
|
Руководство по эксплуатации |
1 экз. |
||||||
|
Компакт-диск с программным обеспечением |
1 шт. |
||||||
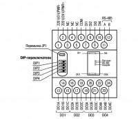
Схемы подключения
|
МК110-220.4ДН.4Р |
МК110-224.8ДН.4Р |
МК110-224.8Д.4Р |
МК110-220.4К.4Р |
|
Общий чертеж |
|||
|
Схема подключения к выходным элементам типа электромагнитное реле |
|||
|
Схема подключения дискретных датчиков с выходом типа «сухой контакт» |
|||
|
– |
|||
|
Схема подключения трехпроводных дискретных датчиков, имеющих выходной транзистор n-p-n типа с открытым коллектором |
|||
|
– |
|||
|
Схема подключения трехпроводных дискретных датчиков, имеющих выходной транзистор p-n-p типа |
|||
|
– |
– |
||
|
Схема подключения кондуктометрических датчиков уровня |
|||
|
– |
– |
– |
|
| Основные атрибуты | |
|---|---|
| Производитель | ОВЕН |
| Страна производитель | Россия |
| Пользовательские характеристики | |
| Состояние | Новое |
| Тип | Модули дискретного ввода/вывода (с интерфейсом RS-485) МК110 |
- Цена: от 390,60 руб.









