Назначение
Построение простых локальных систем управления:
- разного типа насосных станций с возможностью управления частотным преобразователем;
- контроля доступа и релейной защиты;
- конвейерных систем с дозаторами;
- технологического оборудования (станки, прессы и пр.);
- вентиляции и отопления.
Преимущества
- Различные виды исполнения. (по питанию, по типу и количеству входов/выходов).
- Наличие часов реального времени.
- Простая, интуитивно понятная среда программирования OWEN Logic.
- Возможность создания и отладки проекта без прибора.
- Возможность интеграции в сети RS-485, протокол Modbus-Slave.
- Компактный корпус на DIN-рейку.
- Широкий климатический диапазон -20..+55 °C.
Функциональные возможности
- Логические функции (И, ИЛИ, НЕ).
- Арифметические функции и функции сравнения.
- Счетчики, триггеры.
- Блоки временных задержек.
- Формирователи сигналов.
- Блоки работы с битами.
- Возможность создания своих блоков (макросы).
- Онлайн база макросов.
Сводная таблица технических характеристик ПР110/ПР114:
|
Наименование |
Значение |
||
|
ПР110 |
ПР114 |
||
|
Каналы ввода / вывода |
|||
|
Количество входов аналоговых |
Нет |
4 (0) |
|
|
Количество входов дискретных |
8 или 12 |
8 (12) |
|
|
Количество выходов дискретных |
4 или 8 |
4 - 8 |
|
|
Количество выходов аналоговых |
Нет |
До 4 |
|
|
Питание прибора |
|||
|
Напряжение питания |
=24 В или ~220 В |
=24 В и ~220 В |
|
|
Потребляемая мощность, ВА, не более |
8 |
16 |
|
|
Программирование |
|||
|
Количество ФБ, среднее |
63 |
500 |
|
|
RETAIN-переменные |
Нет |
136 байт |
|
|
Время цикла, мс, не менее |
3 |
1 |
|
|
Конструкция |
|||
|
Тип крепления |
На DIN-рейку, настенное |
||
|
Степень защиты корпуса |
IP20 |
||
|
Климатика |
-20...+55 °С |
||
|
Габариты, мм |
(110×73×63)±1 (110×73×96)±1 |
(110×73×96)±1 |
|
Основные особенности
- Подходит для задач локальной автоматизации
- До 12 дискретных входов
- До 4 аналоговых входов
- До 8 дискретных выходов
- До 4 аналоговых выходов
- Наличие часов реального времени
- Универсальный источник питания (как от 220 В переменного так и от 24 В постоянного тока)
- Встроенный источник питания 24 В, 160 мА
- Программирование в среде OWEN Logic (ссылка)
- Энергонезависимая память для хранения состояния внутренних переменных
- Работа в сети Modbus (с ПР-МИ485)
- Расширенный диапазон рабочих температур -20...+55 °С
Внимание!
По всем вопросам связанных с программируемым реле ОВЕН ПР обращайтесь по адресу support@owen.ru.
Так же рекомендуем ознакомиться с разделом FAQ, возможно, на Ваш вопрос уже есть ответ.
Программа для ОВЕН ПР создается в специализированной среде OWEN Logic.
Программирование реле ОВЕН ПР возможно только при использовании комплекта для программирования ПР-КП10 или ПР-КП20.
Технические характеристики
Питание
|
Наименование |
Значение |
| Напряжение питания, В* | 21...27 В (номинальное напряжение 24 В) |
| 90...264 В (номинальное 110-220 В, при частоте 47...63 Гц) |
|
| Потребляемая мощность, ВА, не более | 16 |
| Гальваническая развязка, В | есть, 1500 |
| Встроенный источник питания | =24 В, 145 мА max |
*Блок питания универсальный
Дискретные входы
|
Параметр |
Значение |
| Количество дискретных входов | 8, развязка групповая по 4 входа (1-4, 5-8),1500 В |
| Тип датчика дискретного входа | - коммутационные устройства (контакты кнопок, выключателей, герконов, реле и т.п.); |
| - датчики, имеющие на выходе транзистор p-n-p типа с открытым коллектором | |
| Напряжение питания дискретных входов, В | 21...27 |
| Максимальный ток дискретного входа, мА не более | 4 |
| Ток «логической единицы», мА | 2,0...4,0 |
| Ток «логического нуля», мА | не более 0,1 |
| Уровень сигнала, соответствующий логической единице на дискретном входе, В | 15...30 |
| Уровень сигнала, соответствующий логическому нулю на дискретном входе, В | - 3...+ 5 |
Аналоговые/дискретные входы
|
Параметр |
Значение |
| Количество входов | 4 (входа 9-12) |
| Режим аналогового входа | |
| Тип измеряемых сигналов | «0...10 В», «4...20 мА», |
| Входное сопротивление, кОм | 67 |
| Предел основной приведенной погрешности, % | ±0,5 |
| Значение наименьшего значащего разряда, мВ | 2,7 (3700 ед./(0-10 В)) |
| Период обновления результатов измерения четырех каналов, мс, не более | 0,5 |
| Дополнительной приведенной погрешности, вызванной изменением температуры на 10 °С в пределах рабочего диапазона температур, % | ±0,25 |
| Режим дискретного входа | |
| Напряжение «логической единицы» , В (ток в цепи) | 14...30 (1,0...2,6 мА) |
| Напряжение «логического нуля», В (ток в цепи) | 0...11 (не более 0,2 мА) |
| Гальваническая развязка | Отсутствует |
Выходные устройства
|
Параметр |
Значение |
| Количество выходных устройств | 8, из них 4 с возможностью |
| Из них: - фиксированные (дискретные) - на выбор (аналоговые/дискретные) |
4 (выходы 1-4) 4 (выходы 5-8) |
| Гальваническая развязка | Индивидуальная, 1500 В, кроме выхода типа Т |
| Типы выходных элементов | см табл. "Тип встроенного выходного устройства" |
Конструкция
|
Параметр |
Значение |
| Индикация состояния входов/выходов | Светодиодная, на передней панели |
| Тип корпуса | Корпус для крепления на стену или на DIN-рейку шириной 35 мм. |
| Габаритные размеры, мм | (96×110×73)±1 |
| Климатическое исполнение | IP20 (-20...+55) |
| Масса прибора, кг, не более | 0,5 |
Вычислительные ресурсы
| Время цикла, мс min (зависит от сложности программы) | 1 |
| Количество ФБ, шт., среднее | 500 |
| Количество функций, шт., среднее | 500 |
| Количество переменных для сетевого обмена, шт. max | 64 (32 на чтение, 32 на запись) |
| Объем памяти для энергонезависимых переменных, байт | 136 |
Тип встроенного выходного устройства
| Обозначение выходного элемента | Тип выходного элемента | Технические параметры |
| Р | Контакты электромагнитного реле | Максимальный коммутируемый ток, А, не более – 5 A при напряжении не более 30 В постоянного тока – 10 A при напряжении не более 250 В переменного тока, 50 Гц и cosφ> 0,95 Механический ресурс реле, циклов, не менее – 5 000 000 Электрический ресурс реле, циклов, не менее – 200 000 |
| К | Оптопара транзисторная n-p-n-типа | Постоянный ток не более 400 мА при напряжении не более 60 В |
| Т | Выход для управления внешним твердотельным реле | Выходное напряжение 4...6 В, постоянный ток не более 25 мА |
| С | Оптопара симисторная | Ток не более 50 мА при переменном напряжении не более 250 В (50 Гц) |
| И | ЦАП «параметр – ток» | Постоянный ток 4...20 мА на внешней нагрузке не более 1 кОм, напряжение питания 12...30 В |
| У | ЦАП «параметр – напряжение» | Постоянное напряжение 0...10 В на внешней нагрузке не менее 2 кОм, напряжение питания 16...30 В |
Функциональная схема прибора
![]()
Модификации
![]()
|
12 входов из которых 4 могут работать как аналоговые/ 4 дискретных + 4 заказаных выходов |
||
| ПР114-224.8Д4А.РРРРхххх | Универсальный блок питания 24В постоянного и 220В переменного тока | |
| ПР114-224.8Д4А.РРРРхххх-Ч | Универсальный блок питания 24В постоянного и 220В переменного тока, имеются часы реального времени | |
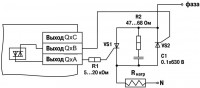
Схемы подключения
![]()
Назначение контактов ПР114
Подключение входов
Подключение выходов
Комплектность
- Прибор ПР114
- Резистор С2-29В-0,125Т-180 Ом 0,1%-25ppm/C - 4 шт.
- Паспорт и руководство по эксплуатации
- Гарантийный талон
| Основные | |
|---|---|
| Производитель | ОВЕН |
| Страна производитель | Россия |
| Состояние | Новое |
| Пользовательские характеристики | |
| Тип | ПР114 программируемое реле с поддержкой аналоговых сигналов для локальных систем |
- Цена: от 532,98 руб.


