Назначение модуля сбора данных ОВЕН МСД-200
Модуль сбора данных ОВЕН МСД-200 применяется для опроса\прослушивания приборов, модулей ввода, контроллеров имеющих возможность передавать данные в сеть RS-485. Производит архивирование данных полученных с 64 точек измерения на карту памяти SD.
Каждая из 64-х точек может опрашиваться по одному из протоколов передачи данных: ОВЕН, Modbus RTU, Modbus ASCII.
Применяется для архивации данных теплосчетчиков, данных о ходе различного рода технологических процессов в пищевой, химической, газовой, упаковочной отраслях, при производстве строительных материалов, деревообработке, в различных сферах ЖКХ и многих других областях промышленной автоматизации.
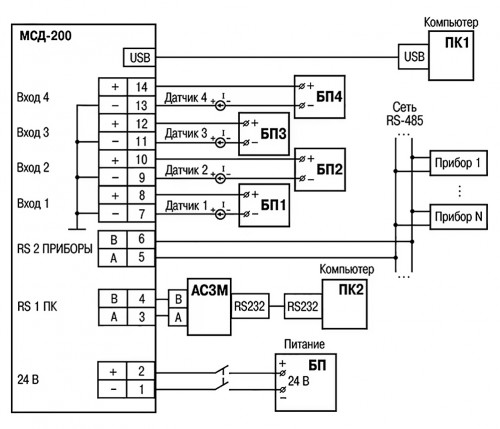
Модуль имеет два интерфейса связи RS-485 (RS1-ЭВМ и RS2-Приборы) и один интерфейс связи USB-Device.
Основные функции и отличия нового МСД-200
- Сбор данных от приборов, имеющих интерфейс RS-485;
- Архивирование данных с 64 точек измерения;
- Формирование архива на карте памяти SD;
- Поддержка карт памяти объемом до 32 Гб;
- Поддержка протоколов ОВЕН, Modbus RTU, Modbus ASCII;
- Возможность конфигурирования и считывания данных из МСД-200 без применения преобразователей интерфейса, через USB порт;
- Реализация цифровой подписи.
- Возможность автоматического склеивания архивов за несколько суток;
- Экспресс анализ архивов (вывод экстремумов);
- Перезапись содержимого карты памяти при заполнении;
- 4 аналоговых входа;
- Возможность передачи архива по GSM каналу.
Программа для построения графиков МСД-200
Технические характеристики
|
Параметр |
Значение |
|
Диапазон напряжения питания постоянного тока, В |
от 20 до 33 (номинальное значение 24 В) |
|
Потребляемая мощность, Вт, не более |
5 |
|
Электрическая прочность изоляции, В |
500 |
|
Максимальное число опрашиваемых каналов |
64 |
|
Тип поддерживаемых карт памяти |
MMC, SD, SDHC |
|
Объем карты памяти, Гб, не более |
32 |
|
Файловая система карты памяти |
FAT |
|
Тип файлов архива |
*.CSV |
|
Масса, кг, не более |
0,5 |
|
Средний срок службы, лет |
8 |
|
Температура окружающего воздуха, °C |
-10...55 |
|
Габаритные размеры, мм |
(22,5×106×120) +1 |
Схема подключения
Внимание! Подключение напряжения питания к модулю рекомендуется осуществлять через индивидуальный выключатель.
Обновление ПО
Комплектность
- Прибор МСД-200
- Компакт–диск с ПО и документацией
- Паспорт и гарантийный талон
- Карта памяти SD16Gb
- Краткое руководство
- Руководство по эксплуатации
- Методика поверки (по требованию заказчика)
Примечание - Изготовитель оставляет за собой право внесения дополнений в комплектность изделия.
| Основные | |
|---|---|
| Производитель | ОВЕН |
| Страна производитель | Россия |
| Тип карты памяти | SD |
| Состояние | Новое |
- Цена: 399,01 руб.


