Назначение счетчика времени ОВЕН СВ01
Прибор предназначен для измерения интервалов времени и счета количества измеренных сигналов.
Счетчик времени СВ01 может быть использован в составе измерительных систем контроля и управления технологическими процессами на промышленных предприятиях.
Он может применяться для автоматического учета времени наработки оборудования (двигателей, станков, автономных электростанций, компрессоров, холодильных установок, спецтехники и др. оборудования), благодаря чему удается измерить общую продолжительность работы оборудования и своевременно производить профилактические и регламентные работы.
Функциональные возможности счетчика времени ОВЕН СВ01
- Функция счетчика времени;
- Функция счетчика количества включений прибора;
- Дискретный вход для подключения активных датчиков, имеющих на выходе транзистор n-p-n-типа с открытым коллектором, либо контактов, кнопок и других датчиков типа «сухой контакт»;
- ВУ (по заказу) электромагнитное реле;
- Встроенный интерфейс RS-485(по заказу), протокол ОВЕН, Modbus ASCII/RTU;
- Запуск отсчета времени:
- по подаче напряжения питания на прибор;
- по внешнему сигналу с дискретного входа.
Технические характеристики
|
Наименование |
Значение |
|
Питание |
|
|
Напряжение питания прибора СВ01-220.Х.Х.Х: |
|
|
от сети переменного напряжения: напряжение, В |
от 90 до 264 В переменного тока (номинальные значения 110, 220) |
|
частота, Гц |
частотой от 47 до 63 Гц |
|
от источника постоянного тока: напряжение, В |
от 120 до 375 В постоянного тока (номинальные напряжения 220 В) |
|
Напряжение питания прибора СВ01-24.Х.Х.Х от источника постоянного напряжения, В |
от 10,5 до 30 (номинальные значения 12 и 24 В) |
|
Выходное напряжение встроенного источника питания: напряжения, В |
|
|
СВ01-220.Х.Х.Х |
24±3 |
| СВ01-24.Х.Х.Х | (от 10,5 до 30)1 |
|
Потребляемая мощность, ВА, не более |
10 |
|
Измерение |
|
|
Предел абсолютной допустимой погрешности временных интервалов, не более |
Δ=±(0.9×10-4×tизм +C) где: С – значение наименьшего разряда при измерении в данном диапазоне2; tизм – измеряемое значение, сек |
|
Предел абсолютной допустимой погрешности счета количества измеренных сигналов в диапазоне от 0 до 999999, не более |
±1 |
|
Интерфейс связи RS-485 |
|
|
Скорости обмена, бит/сек |
2400, 4800, 9600, 14400, 19200, 28800, 38400, 57600, 115200 |
|
Протоколы связи |
ОВЕН; ModBus-RTU; ModBus-ASCII |
|
Входное сопротивление |
12 кОм (стандартная нагрузка) |
|
Конструктивное исполнение |
|
|
Степень защиты корпуса |
|
| – для корпуса Н | IP44 |
| – для корпуса Щ1 (со стороны лицевой панели) | IP54 |
| – для корпуса Щ2 (со стороны лицевой панели) | IP54 |
|
Габаритные размеры, мм |
|
| – корпус Н | 105×130×65 |
| – корпус Щ1 | 96×96×70 |
| – корпус Щ2 | 96×48×100 |
|
Наименование |
Значение |
|
Масса прибора, кг, не более |
0,4 |
|
Средний срок службы, лет, не менее |
12 |
|
1 Физически в СВ01-24.Х.Х.Х входное напряжение выводится напрямую на выходные клеммы прибора, без дополнительного преобразования 2 В зависимости от диапазона измерения значение наименьшего разряда С равно: - 1 сек (для диапазона от 0 сек до 23 ч 59 мин 59 сек); - 1 мин (для диапазона от 24 ч до 9999 ч 59 мин); - 1 ч (для диапазона от 10000 ч до 99999 ч) |
|
Характеристики входного сигнала
|
Параметр |
Значение |
| Подключаемые датчики | - активные датчики, имеющие на выходе транзистор n-p-n-типа с открытым коллектором - контакты кнопок, выключателей, герконов, реле и других датчиков типа «сухой контакт» |
|
Максимальный входной ток «0» и «1», мА, не более |
5 |
|
Уровень сигнала, соответствующий логической единице на входе прибора, В |
от 5 до 30 |
|
Уровень сигнала, соответствующий логическому нулю на входе прибора, В |
от 0 до 3 |
|
Максимальное входное напряжение, В, не более |
30 |
|
Длительность сигнала на входе, мс, не менее |
300 |
Характеристики ВУ
|
Тип ВУ |
Технические характеристики |
Значение |
|
Реле электромагнитное (Р) |
Максимальный ток нагрузки (при 250В 50Гц и cos φ >0,4), А, не менее |
8 |
|
Максимальное напряжение нагрузки |
240 |
|
|
Максимальное напряжение нагрузки постоянного тока (при токе нагрузки 8А), В, не менее |
30 |
Условия эксплуатации
|
Температура окружающего воздуха |
–20...+60 °С |
|
Атмосферное давление |
84...106,7 кПа |
|
Верхний предел относительной влажности воздуха |
80 % при +35 °С и более низких температурах без конденсации влаги |
Функциональная схема прибора
Модификации

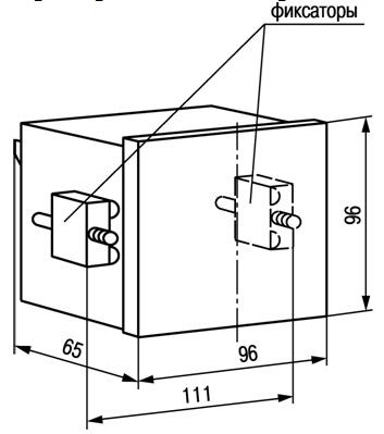
Габаритные размеры
Счетчик времени СВ01 может быть выполнен в 3 вариантах корпусов:
- Н – корпус настенного крепления:
130×105×65мм; - Щ1 – корпус щитового крепления:
96×96×65мм; - Щ2 – корпус щитового крепления:
96×48×100мм.
Схемы подключения
Подключение датчиков имеющих на выходе транзистор n-p-n типа с открытым коллекторным входом или подключение к входу коммутационных устройств:
Комплектность
- Прибор СВ01
- Комплект крепежных элементов
- Паспорт и гарантийный талон.
- Руководство по эксплуатации.
| Основные | |
|---|---|
| Производитель | ОВЕН |
| Страна производитель | Россия |
| Состояние | Новое |
| Пользовательские характеристики | |
| Тип | СВ01 счетчик времени наработки оборудования |
- Цена: от 230,58 руб.




