Внимание!
Теперь прибор ТРМ138 выпускается и в корпусе Щ7 со съемными клеммниками и меньшей глубиной щитового крепления.
Назначение прибора ОВЕН ТРМ138
Измеритель-регулятор ОВЕН ТРМ 138 предназначен для измерения, регистрации и регулирования температуры, давления либо другого физического параметра, одновременного управления несколькими (до 8-ми) исполнительными механизмами, а также для регистрации измеренных параметров на ЭВМ.
Терморегулятор применяется в многозонных печах, в системах защитной автоматики.
Прибор выпускается в щитовом корпусе типа Щ4 и Щ7.
Функциональные возможности регулятора ОВЕН ТРМ138
- Восемь универсальных входов* для подключения от 1 до 8 датчиков разного типа в любых комбинациях, что позволяет одновременно измерять и контролировать несколько различных физических величин (температуру, влажность, давление и др.)
- Вычисление дополнительных величин:
- средних значений от 2 до 8 измеренных величин
- разностей измеренных величин
- скорости изменения измеряемой величины.
- До восьми каналов регулирования или регистрации температуры, давления или других измеренных или вычисленных величин:
- регулирование по двухпозиционному закону (для каналов с ВУ тип Р,К,С или Т)
- регистрация на аналоговом выходе (ток 4...20 мА или напряжение 0...10 В).
- От 1 до 8 встроенных выходных устройств различных типов в выбранной пользователем комбинации
- Режим ручного управления выходными устройствами
- Конфигурирование функциональной схемы и установка параметров:
- кнопками на лицевой панели прибора
- на ПК с помощью программы-конфигуратора.
- Стандартная конфигурация — удобный выбор из четырех возможных
- Встроенный интерфейс rs-485 (протокол ОВЕН, Modbus ASCII/RTU)
* Для измерения давления, влажности, расхода и др. величин используются датчики с унифицированным выходным сигналом тока 0...5 мА, 0(4)...20 мА или напряжения 0...50 мВ, 0...1 В.
Бесплатно: ОРС-сервер, драйвер для работы со SCADA-системой TRACE MODE; библиотеки WIN DLL
Технические характеристики
|
Напряжение питания |
90...264 В частотой 47...63 Гц |
|
Количество универсальных входов |
1...8 |
|
Входное сопротивление при подключении источника сигнала: |
|
|
– тока |
100 Ом ± 0,1 % (при подключении внешнего резистора) |
|
– напряжения |
не менее 100 кОм |
|
Предел допустимой основной погрешности измерения входного параметра |
±0,25 % |
|
– при использовании термопары |
±0,5 % |
|
Время опроса одного входа |
не более 1 с |
|
Напряжение питания активных датчиков |
20...28 В постоянного тока |
|
Максимально допустимый ток |
150 мА |
|
Количество выходных устройств |
8 |
|
Тип интерфейса связи с ЭВМ |
RS-485 |
|
Скорость передачи данных |
2.4; 4.8; 9.6; 14.4; 19.6; 28.8; 38.4; 57.6; 115.2 кбит/с |
|
Тип кабеля |
экранированная витая пара |
|
Тип и габаритные размеры корпуса |
щитовой Щ4, 96×96×145 мм |
|
Степень защиты корпуса |
IP54 со стороны передней панели |
| Гарантийный срок обслуживания | 2 года |
Характеристики выходных устройств
|
Обозн. |
Тип выходного устройства |
Электрические характеристики |
|
Р |
электромагнитное реле |
4 А при 230 В |
|
К |
транзисторная оптопара структуры n–p–n типа |
200 мА при 40 В |
|
С |
симисторная оптопара |
50 мА при 300 В(пост. откр. симистор) или 0,5 А (симистор вкл. с частотой не более 50 Гц и tимп. = 5 мс) |
|
Т |
выход для управления твердотельным реле |
выходное напряжение – 4...6 В |
|
И |
цифроаналоговый преобразователь «параметр–ток 4...20 мА» |
сопротивление нагрузки 0...800 Ом |
Характеристики измерительных датчиков
|
Тип датчика |
Диапазон измерений |
Разрешающая способность |
|
ТСМ 50М W100 = 1.426 |
–50...+200 °С |
0,1 °С |
|
ТСМ 50М W100 = 1.428 |
–190...+200 °С |
0,1 °С |
|
ТСМ 100М W100 = 1.426 |
–50...+200 °С |
0,1 °С |
|
ТСМ 100М W100 = 1.428 |
–190...+200 °С |
0,1 °С |
|
ТСП 50П W100 = 1.385 |
–200...+750 °С |
0,1 °С |
|
ТСП 50П W100 = 1.391 |
–200...+750 °С |
0,1 °С |
|
ТСП 100П W100 = 1.385 (Pt 100) |
–200...+750 °С |
0,1 °С |
|
ТСП 100П W100 = 1.391 |
–200...+750 °С |
0,1 °С |
|
ТСМ гр. 23 (R0=53 Ом, W100 = 1.426) |
–50...+200 °С |
0,1 °С |
|
термопара ТХК (L) |
–50...+750 °С |
0,1 °С |
|
термопара ТЖК (J) |
–50...+900 °С |
0,1 °С |
|
термопара ТНН (N) |
–50...+1300 °С |
1 °С |
|
термопара ТХА (K) |
–50...+1300 °С |
1 °С |
|
термопара ТПП (S) |
0...+1750 °C |
1 °С |
|
термопара ТПП (R) |
0...+1750 °C |
1 °С |
|
термопара ТВР (А-1) |
0...+2500 °С |
1 °С |
|
ток 0...5 мА |
0...100 % |
0,1 °С |
|
ток 0...20 мA |
0...100 % |
0,1 °С |
|
ток 4...20 мА |
0...100 % |
0,1 °С |
|
напряжение 0...50 мВ |
0...100 % |
0,1 °С |
|
напряжение 0...1 В |
0...100 % |
0,1 °С |
Условия эксплуатации
- закрытые взрывобезопасные помещения без агрессивных паров и газов;
- температура окружающего воздуха от +1 до +50 °С;
- верхний предел относительной влажности воздуха 80 % при +25 °С и более низких температурах без конденсации влаги;
- атмосферное давление от 86 до 106,7 кПа.
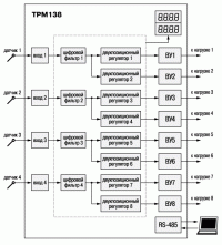
Функциональная схема прибора
Основные блоки функциональной схемы
ТРМ138 включает в себя следующие основные функциональные элементы:
- 8 универсальных входов;
- блоки цифровой фильтрации, коррекции и масштабирования для каждого входного сигнала;
- 8 логических устройств (ЛУ);
- 8 выходных устройств (ВУ);
- модуль интерфейса RS-485.
Пользователь может создавать любые конфигурации функциональных схем.
Универсальные входы прибора ОВЕН ТРМ138
К восьми универсальным входам ТРМ138 могут быть подключены датчики разного типа в любой комбинации, что позволяет одновременно измерять и контролировать несколько различных физических величин.
Ко входам ТРМ138 можно подключать:
- термопреобразователи сопротивления ТСМ50М/100М, ТСП50П/100П, Pt100;
- термопары ТХК(L), ТХА(K), ТЖК(J), ТНН(N), ТПП(R), ТПП(S), ТВР(А-1);
- датчики с унифицированным выходным сигналом тока 0...5 мА, 0...20 мА, 4...20 мА;
- датчики с унифицированным выходным сигналом напряжения 0...50 мВ, 0...1 В.
Цифровая фильтрация и коррекция входного сигнала
ОВЕН ТРМ138 осуществляет цифровую фильтрацию входного сигнала от помех и коррекцию измерительной характеристики датчика ("сдвиг", "наклон").
Для датчиков с унифицированным выходным сигналом тока или напряжения осуществляется масштабирование шкалы.
Логические устройства (ЛУ)
Измеренные значения подаются на логические устройства (ЛУ). ЛУ могут обрабатывать входные величины, вычисляя разность, среднее арифметическое значение или скорость изменения измеряемой величины.
На сегодняшний день пользователь может задать следующие режимы работы логических устройств:
- двухпозиционный регулятор - ЛУ сравнивает измеренное значение с уставкой и выдает релейный управляющий сигнал в соответствии с заданной логикой;
- регистратор - ЛУ выдает аналоговый сигнал в диапазоне 4...20 мА, пропорциональный значению измеряемого параметра.
Для работы в режиме регистратора для соответствующего ЛУ программным путем должен быть задан этот режим и на выходе установлен ЦАП «параметр-ток 4...20 мА»
К каждому ЛУ может быть подключено одно из восьми выходных устройств, порядковый номер которого задается при программировании.
Выходные устройства (ВУ)
В приборе в зависимости от заказа могут быть установлены в различных комбинациях следующие выходные устройства:
- реле 4 А 230 В;
- транзисторные оптопары n–p–n типа 200 мА 40 В;
- симисторные оптопары 50 мА 300 В (0,5 А в импульсном режиме);
- логический выход 4...6 В 50 мА для управления твердотельным реле;
- ЦАП «параметр–ток 4...20 мА».
Любое ВУ может управляться оператором кнопками, расположенными на передней панели. Любое реле может выполнять функции аварийного, что задается программным путем.
Интерфейс связи с ЭВМ
Прибор имеет встроенный двунаправленный интерфейс RS-485 для передачи данных и приема информации от компьютера и других приборов, оснащенных таким же интерфейсом связи.
Через этот интерфейс прибор может передавать текущее значение измеренных величин и принимать команды на изменение уставок. Кроме того, при помощи специального программного обеспечения ОВЕН может быть изменена конфигурация прибора.
Конфигурации прибора
В настоящее время созданы и выпускаются конфигурации прибора, аналогичные по своим функциям приборам ОВЕН УКТ38, ТРМ34 и ТРМ38. Кроме того, создана новая конфигурация, обеспечивающая контроль одного датчика и поддержание по двухпозиционному (вкл./выкл.) закону восьми независимых уставок.
Гибкая изменяемая структура прибора позволяет в кратчайшие сроки создавать любые конфигурации для решения широкого спектра задач автоматизации.
Модификации
![]()
Элементы управления

4-х разрядный цифровой индикатор № 1 отображает измеренное или вычисленное значение параметра в выбранном канале контроля. При аварии индикатор отображает порядковый номер неисправного датчика. Возможны два режима индикации:
- статический режим - выбор канала индикации производится оператором при помощи кнопок управления, расположенных на лицевой панели прибора, и контролируется по засветке соответствующего светодиода «КАНАЛ»;
- циклический режим - информация о каждом канале контроля выводится по замкнутому циклу на заданное пользователем время.
4-х разрядный цифровой индикатор № 2 отображает уставку выводимого на индикацию канала контроля. При аварии индикатор отображает причину неисправности датчика в символьном виде.
2-х разрядный цифровой индикатор № 3 отображает информацию о подключенном к данному каналу входном параметре (например, датчик 1 — «d1»).
Светодиоды «КАНАЛ 1...8» постоянной засветкой показывают номер ЛУ, параметры которого в данный момент выводятся на индикацию, мигающей засветкой сигнализируют о возникновении аварийной ситуации в данном канале контроля или срабатывании в нем предупредительной сигнализации.
2 х разрядный цифровой индикатор № 4 отображает в режиме РАБОТА номер подключенного к данному каналу выходного устройства. Мигающей засветкой сигнализирует о переводе ВУ в режим РУЧНОЕ УПРАВЛЕНИЕ.
Светодиод «К1» засвечивается при включении ВУ канала контроля, выводимого на индикацию (только для ключевых ВУ).
Светодиод «СТОП» светится при работе в статическом режиме индикации.
Функции кнопок
![]() |
Кнопки и служат для выбора канала индикации в статическом режиме работы, а также для управления ВУ в ручном режиме. |
![]() |
Кнопка предназначена для перевода прибора в режим ПРОГРАММИРОВАНИЕ. |
![]() |
Кнопка предназначена для остановки работы аварийного ВУ, а также для сдвига информации на верхнем индикаторе при его переполнении. |
![]() |
Кнопка предназначена для перевода выбранного оператором ЛУ в режим «РУЧНОЕ УПРАВЛЕНИЕ», а также для возврата прибора из режима ПРОГРАММИРОВАНИЕ в режим РАБОТА. |
![]() |
Кнопка предназначена для переключения режима индикации прибора со статического на циклический, и обратно. |
Габаритные и установочные размеры
Стандартные конфигурации
Комплектность
- Прибор ТРМ138
- Комплект крепежных элементов
- Паспорт и гарантийный талон
- Руководство по эксплуатации
- Методика поверки (по требованию заказчика)
Примечание - Изготовитель оставляет за собой право внесения дополнений в комплектность изделия.
| Основные | |
|---|---|
| Производитель | ОВЕН |
| Страна производитель | Россия |
| Пользовательские характеристики | |
| Состояние | Новое |
| Тип | ТРМ138 восьмиканальный регулятор с RS-485 |
- Цена: от 798,01 руб.








